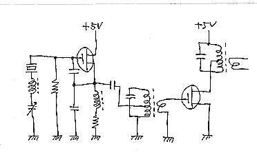
(1) トランジスタの方が作りやすいが、動作すればFETの方が安定だそうなので、FETで作る。

(2) VXOコイルが重要なので、トロイダルコアにメインコイルを巻いて、10Kボビンのサブコイルと直列にして、大まかな調整も微調整もしやすいようにする。

(3) FETは帰還を強めにしないと発振しないそうなので、ソースにチョークを入れる。

(4) 波形を整えるために複同調にしている回路例を見かけるが、バッファの前後に分ける。

(5) IFが10.7MHz、受信周波数は50.550MHz〜50.620MHzを目標にするので、VXOの周波数は39.85MHz〜39.92MHz。これで周波数変化は0.175%になる。安定にVXOするのは0.5%程度までだそうだから、余裕のヨッチャンだ。変化幅は小さ目にして安定動作を目指すことにする。

(6) 同調コイルは手元にFCZ50がたくさんあったので、大きめのCをかまして使う。


てな工夫をして、多少はオリジナリティを出せただろうか。学期末の上に行事が立て込んできたので、実際に実験してみるのは夏休みの中頃になるか。


 あとは送信部だが、2SC1815の3パラプッシュで300mWとかいうふざけた製作記事が有ったので、まねてみようかと思う。・・・・。こらこら、オリジナリティがどうとかいう話は何だったんだ。


というツッコミもあり得るので、レトロラジオなケースに入れてみたらどうだろう。せめて見かけだけでもユニークな感じに。


 以前TA2011というALC付きのマイクアンプを使ったことがある。これにコンデンサマイクを直につないだら、音は悪くないのだが、入力レベルが足りなくて、ALCが効かない。

 秋月に20dBのアンプ内蔵の超小型シリコンマイクが150円で売っていたので、これとTA2011と組み合わせたら、この送信機に合うのではないかという気がする。シリコンマイクは構造上低音がダメダメだが、逆に言えば高音カットするだけでよいので、音声通信用には適している。


 ガイガーカウンタや電気2重層コンデンサの実験も放置してあるし。う〜ん、時間が足りない。